产品概述
H14W不锈钢螺纹旋启式止回阀止回阀的功能是用来防止管路中的介质倒流。止回阀属于自动阀类,启闭件靠流动介质的力量自行开启
或关闭。止回阀只用于介质单向流动的管路上,阻止介质回流,以防发生事故。
适用介质为:水、油品、蒸汽、酸性介质等。
性能规范
|
公称压力 |
PN |
1.6, 2.5, 4.0, 6.4 |
MPa |
|
强度试验压力 |
PT |
2.4, 3.8, 6.0, 7.6 |
|
低压气密封试验压力 |
|
0.6 |
|
高压气密封试验压力 |
2.0, 3.0, 4.8, 7.6 |
|
适用介质 |
H14W-(16-64)C |
H14W-(16-64)P |
H14W-(16-64)R |
|
水、油品、汽 |
硝酸类 |
醋酸类 |
|
适用温度 |
-40~180 |
主要零件材料
|
序号NO. |
零件名称 |
材质 |
|
1 |
阀体 |
不锈钢CF8M/CF8 |
|
2 |
阀盖 |
不锈钢CF8M/CF8 |
|
3 |
摇杆插销 |
不锈钢316/304 |
|
4 |
阀瓣 |
不锈钢CF8M/CF8 |
|
5 |
螺塞 |
不锈钢316/304 |
|
6 |
螺塞垫片 |
聚四氟乙烯PTFE |
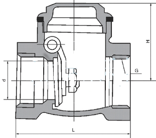
主要连接尺寸及重量 单位:mm
|
SIZE |
1/2" |
3/4" |
1" |
11/4" |
11/2" |
2" |
21/2" |
3" |
|
A |
15 |
20 |
25 |
32 |
40 |
50 |
65 |
80 |
|
H |
42 |
51 |
60 |
67 |
75 |
81 |
93 |
104 |
|
L |
65 |
80 |
90 |
105 |
120 |
140 |
180 |
200 |
|
重量WT(kg) |
310 |
445 |
680 |
1040 |
1490 |
2020 |
|
|
产品结构