
产品概述
球阀在石油、天然气、煤炭和矿石的开采、提炼加工和管道输送系统中;在化工产品、医药和食品生产种;在水电、火电和核电的电力生产系统中;在城市和工业企业的给排水、供热、和供气系统中;在农田的排灌系统中;在治金生产系统中得以广泛的应用,是一种与生产建设、国防建设和人民生活息息相关的重要机械产品。球阀密闭在各类管路系统种用于截断或接通介质流,使介质按照预定的程序输送到各个指定点。
| 阀体 | 阀杆 | 阀球 | 密封面 | 垫片 | 填料 | 工作温度 | 适用介质 |
| WCB | 1Cr13 | 1Cr13 |
1Cr13 司太立合金 本体材料 |
柔性石墨 不锈钢加柔性石墨 08软钢 F304 F316 |
柔性石墨 编结石墨 |
-29-425℃ | 水、蒸汽、油品 |
| WC6 | 15CrMo | 15CrMo | -29-425℃ | ||||
| WC9 | 25Cr2MoV | 25Cr2MoV | |||||
| LCB | 304 | 304 | -46-354℃ | ||||
| CF8 | 304 | 304 | 96-600℃ | 部分酸、碱 | |||
| CF3 | 304L | 304L | |||||
| CF8M | 316 | 316 | |||||
| CF3M | 316L | 316L |
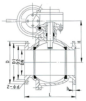
| 公称通径DN | 25 | 32 | 40 | 50 | 65 | 80 | 100 | 125 | 150 | 200 | 250 | 300 | 350 | 400 | 450 | 500 | 600 | 700 | |
| d1 | 25 | 32 | 40 | 50 | 65 | 80 | 100 | 125 | 150 | 200 | 250 | 300 | 337 | 387 | 438 | 489 | 591 | 686 | |
| L | 165 | 180 | 190 | 216 | 241 | 283 | 305 | 356 | 394 | 457 | 533 | 610 | 686 | 762 | 864 | 914 | 1067 | 1245 | |
| H | 50 | 55 | 80 | 102 | 144 | 127 | 152 | 184 | 219 | 376 | 360 | 395 | 430 | 470 | 550 | 580 | 700 | 800 | |
| 手动 | H1 | 75 | 85 | 95 | 707 | 125 | 152 | 178 | 300 | 330 | 398 | 495 | 580 | 625 | 670 | 698 | 840 | 1050 | 1100 |
| E | - | - | - | - | - | - | - | - | - | 116 | 116 | 171 | 171 | 257 | 257 | 257 | 150 | 83 | |
| F | - | - | - | - | - | - | - | - | - | 350 | 350 | 400 | 420 | 400 | 420 | 400 | 410 | 650 | |
| W | 160 | 160 | 230 | 230 | 400 | 400 | 650 | 1050 | 1050 | 600 | 600 | 800 | 800 | 800 | 800 | 800 | 800 | 800 | |
| 电动 | H2 | - | - | - | - | - | - | - | - | 554 | 600 | 652 | 760 | 770 | 830 | - | 940 | 940 | 1115 |
| L1 | - | - | - | - | - | - | - | - | 235 | 235 | 235 | 259 | 400 | 400 | - | 410 | 410 | 410 | |
| 气动 | H3 | 215 | 240 | 264 | 274 | 379 | 389 | 479 | 552 | 666 | 736 | 926 | 1059 | 1127 | 1393 | 1468 | 1538 | 1538 | 1450 |
| L2 | 200 | 270 | 270 | 270 | 405 | 405 | 576 | 576 | 776 | 776 | 776 | 1060 | 1060 | 1360 | 1360 | 1360 | 1360 | 2840 | |
