
软密封闸阀产品概述
软密封闸阀明杆弹性座封闸阀,除具有弹性座封闸阀的优点之外,软密封闸阀并可以较直观阀门开度,软密封闸阀启闭迅速可靠,故常应用消防及工业系统,一般安装于距地面较高位置。
|
NO. |
零件名称 |
材质 |
|
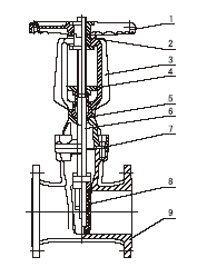
1 |
手轮 |
可锻铸铁 |
|
2 |
阀杆螺母 |
铜合金 |
|
3 |
支架 |
碳铸铁、球墨铸铁、铸钢 |
|
4 |
压盖 |
球墨铸铁、铸钢 |
|
5 |
密封圈 |
丁腈橡胶、三元乙丙 |
|
6 |
阀杆 |
不锈钢 |
|
7 |
中口垫 |
丁腈橡胶、三元乙丙 |
|
8 |
闸阀 |
球墨铸铁+三元乙丙或丁腈橡胶 |
|
9 |
阀体 |
灰铸铁、球墨铸铁、铸钢 |
公称压力:1.0~2.5MPa
公称通径:50~400mm
工作温度:0~120℃
适用介质:水、油、气等
法兰标准:GB/T17241.6GB9113
试验标准:GB13927API598
|
DN |
50 |
65 |
80 |
100 |
125 |
150 |
200 |
250 |
300 |
350 |
400 |
450 |
500 |
600 |
|
L |
178 |
190 |
203 |
229 |
254 |
267 |
292 |
330 |
356 |
381 |
406 |
432 |
457 |
508 |
|
Hmin(全关) |
313 |
332 |
372 |
424 |
497 |
562 |
680 |
837 |
948 |
1010 |
1220 |
1280 |
1480 |
1665 |
|
Hmax(全开) |
355 |
375 |
415 |
476 |
540 |
600 |
720 |
875 |
990 |
1050 |
1245 |
1310 |
1560 |
1750 |
