产品用途
A72W0P/R真空负压安全阀适用于温度≤200℃的负压系统,当容器内负压超过允许值时,真空负压安全阀自动开启,吸入空气;当容器内负压达到允许值时,真空负压安全阀自动关闭,从而保护设备及系统。安装在正常非负压系统,当容器和系统的放散阀未打开,产生负压时,此阀自动开启。
主要零部件材料
|
NO. |
零件名称 |
HFA72W-P 材料 |
HFA72W-R 材料 |
|
1 |
阀体 |
ZG1Cr18Ni9Ti |
ZG1Cr18Ni12Mo2Ti |
|
2 |
阀座 |
1Cr18Ni9Ti |
ZG1Cr18Ni12Mo2Ti |
|
3 |
调节阀 |
1Cr18Ni9Ti |
1Cr18Ni12Mo2Ti |
|
4 |
阀盖 |
ZG1Cr18Ni9Ti |
1Cr18Ni9Ti |
|
5 |
阀杆 |
1Cr18Ni9Ti |
1Cr18Ni12Mo2Ti |
|
6 |
弹簧 |
50CrVA |
50CrVA 包覆氟塑料 |
主要性能规范
|
工作温度 |
≤200℃ |
|
适用介质 |
HFA72W0P适用于硝酸类介质 |
|
HFA72W0R适用于醋酸类介质 |
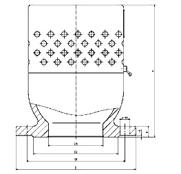
外形尺寸和连接尺寸(mm)
|
公称通径DN(mm) |
尺寸 (mm) |
|
D |
D1 |
D2 |
Z-Фd |
b |
f1 |
H |
|
15 |
95 |
65 |
45 |
44 |
14 |
2 |
110 |
|
20 |
105 |
75 |
55 |
44 |
16 |
2 |
130 |
|
25 |
115 |
85 |
65 |
44 |
16 |
2 |
150 |
|
32 |
140 |
100 |
78 |
48 |
18 |
2 |
180 |
|
40 |
150 |
110 |
85 |
48 |
18 |
3 |
200 |
|
50 |
165 |
125 |
100 |
48 |
20 |
3 |
221 |
|
80 |
200 |
160 |
135 |
48 |
22 |
3 |
245 |
|
100 |
220 |
180 |
155 |
88 |
22 |
3 |
253 |
|
125 |
250 |
210 |
185 |
88 |
24 |
3 |
280 |
|
150 |
285 |
240 |
210 |
8-23 |
24 |
3 |
329 |
|
200 |
340 |
295 |
265 |
8-23 |
26 |
3 |
377 |
|
250 |
395 |
350 |
320 |
12-23 |
28 |
3 |
440 |
产品尺寸